КЛАПАНЫ 19С53НЖ

- Гарантийный срок: 1 год
- Легкий и беспроблемный возврат НДС
- Перетачиваем изделия и фланцы под нужное исполнение
- Проконсультируем и рассчитаем изготовление по вашим чертежам или ТЗ
- Подскажем оптимальное исполнение под среду, температуру и давление
- Если нужно изготовим прототип и проведем испытания
- Предоставим документы под отгрузку и приемку по вашим требованиям
Стоимость товаров может отличаться от указанной. Уточнить точную цену вы всегда можете, обратившись к нашему специалисту.
Описание
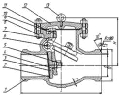
Клапан обратный поворотный 19с53нж из нержавеющей стали предназначен для установки на трубопроводах. Изготавливается в соответствии с ТУ 28.14.13-001-09610444-2023. При необходимости мы можем изготовить нестандартную трубопроводную арматуру по предоставленным чертежам или образцам заказчика.
Технические характеристики
| Диаметр номинальный DN | 50-400 мм |
| Давление номинальное PN | 1,6 МПа (16 кгс/см²) |
| Рабочая среда | Вода, пар, нефть и нефтепродукты, масла, газ, углеводородный газ, жидкие и газообразные нефтепродукты |
| Установочное положение на трубопроводе | По направлению движения среды |
| Управление | Автоматическое |
| Температура рабочей среды | От -40 до +425°С |
| Герметичность затвора | Класс А по ГОСТ 9544-2015 |
| Климатическое исполнение | У1 по ГОСТ 15150-69 |
| Срок службы | 20 лет |
| Материал корпуса | 25Л, 20Л, 20ГЛ |
Габаритные размеры
| Dn | L | D | D1 | H | f | b | Z-d | Масса, кг |
|---|---|---|---|---|---|---|---|---|
| 65 | 290 | 180 | 145 | 145 | 3 | 15 | 4-18 | 20 |
| 80 | 310 | 195 | 160 | 170 | 3 | 17 | 4-18 | 26 |
| 100 | 355 | 210 | 182 | 145 | 3 | 18 | 8-18 | 17 |
| 125 | 400 | 270 | 220 | 220 | 3 | 17 | 8-18 | 30 |
| 150 | 480 | 300 | 250 | 270 | 3 | 24 | 8-22 | 70 |
| 200 | 550 | 340 | 295 | 270 | 3 | 25 | 12-26 | 90 |
| 250 | 650 | 445 | 385 | 365 | 3 | 27 | 12-26 | 210 |
| 300 | 750 | 510 | 450 | 410 | 3 | 27 | 12-26 | 355 |
| 350 | 850 | 570 | 510 | 450 | 4 | 30 | 16-26 | 520 |
| 400 | 950 | 655 | 585 | 485 | 4 | 32 | 16-30 | 680 |
| 500 | 1150 | 755 | 670 | 580 | 4 | 40 | 20-33 | 1050 |
| 600 | 1350 | 890 | 795 | 650 | 5 | 43 | 20-39 | 1500 |
| 700 | 1450 | 995 | 900 | 690 | 5 | 45 | 24-39 | 2300 |
| 800 | 1850 | 1135 | 1030 | 755 | 5 | 47 | 24-39 | 3400 |
Размеры для DN 400 — по запросу
СЕРТИФИКАТЫ НА ПРОДУКЦИЮ
СМОТРЕТЬ ВСЕ СЕРТИФИКАТЫПРОИЗВОДСТВО И СКЛАД В НОВОЧЕБОКСАРСКЕ

г. Новочебоксарск, ул.Промышленная 65
Наши клиенты ключевые компании России
Сотрудничаем с Роснефть, Сибур, Газпром, Башнефть и многими другими
Изготовление под заказ
Изготовление продукции по специальным требованиям заказчика
Контроль качества продукции
Осуществляем входной контроль поступающих материалов и контролируем качество на каждом этапе производства
Проводим испытания для подтверждения качества продукции
Испытания на механические свойства и химический состав
Доставим в любой регион России, а также в Казахстан, Узбекистан и Беларусь
Аккуратно упакуем изделия, чтобы они дошли до вас без повреждения
Отправляем фото и видео продукции перед отгрузкой
от 1 раб. день - сроки поставки продукции со склада
от 10 раб. дней - сроки изготовления трубопроводной арматуры на заказ

ИСПОЛЬЗУЕМ ВСЕ СПОСОБЫ ДОСТАВКИ
СОТРУДНИЧАЕМ С ТРАНСПОРТНЫМИ КОМПАНИЯМИ
Бесплатная доставка груза до терминалов

Поставляем продукцию в следующие города: Москву, Санкт-Петербург, Новосибирск, Екатеринбург, Казань, Нижний Новгород, Челябинск, Самару, Омск, Ростов-на-Дону, Уфу, Воронеж, Пермь, Волгоград, Краснодар, Тюмень, Саратов, Тольятти, Ижевск, Барнаул, Ульяновск, Ярославль, Томск, Оренбург, Рязань, Астрахань, Набережные Челны, Пензу, Липецк, Киров, а также другие города России и СНГ.
Самовывоз со склада
Вы можете самостоятельно забрать продукцию с нашего склада
КОНТАКТЫ
Запросить коммерческое предложение
Расчет КП займет не более 1-го рабочего дня









